Tipo eléctrico válvula de control de la bomba A76D
Descripción:
A7MD es un tipo mechnical válvula de control de la bomba.
Cuando la bomba comienza, A7MD se abrirá lentamente por la presión creciente de la cámara media que proporcionan menos headloss.
Cuando las paradas de la bomba o fuera de electricirty, A7MD actuarán como una válvula de control. Bloqueará el 80% del área del flujo rápidamente y se cerró lentamente en el movimiento pasado del 20%. Esto prevendrá cerrarse de golpe del martillo de agua y del agua.
Características:
| A7MD es una serie doble de la válvula de control de la bomba de la cámara que minimizará la pérdida principal |
| Simple, confiable y fácil instalar y mantenimiento |
| Diafragma de nylon del refuerzo para el servicio de la larga vida |
| Asiento de acero inoxidable. Bueno para anticorrosión |
| Movimiento del tronco con la guía proporcionar funcionamiento confiable |
| Capa de epoxy del polvo |
| EN estándar 1074-5, ISO 5208, EN 12266-1, EN 558-1, EN 1092-2 de las BS de las reuniones de las BS de las BS de las BS |
Datos técnicos:
| Gama de tallas | DN 50-800M M |
| Grados de la presión | 1.0Mpa, 1.6Mpa, 2.5Mpa |
| Reborde | 1.0Mpa, 1.6Mp, Mpa 2,5 |
| Temperatura de trabajo | -10°~80°C. |
| Medios del flujo | agua potable |
DN50-DN350
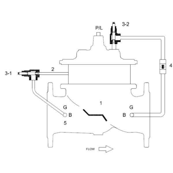
Lista de piezas:




DN400-DN800
Lista de piezas:





Diagrama aflautado exterior:
